
冲击上市,BeBeBus“血拼”高端母婴市场。
作者 | 王晗
小红书“宝妈”们捧热的婴儿车和安全座椅,正载着母公司冲向港交所大门。
近日,中国证券监督管理委员会官网显示,高端育儿产品品牌“BeBeBus”的母公司“不同集团”已完成港股上市备案。公司拟发行不超过16188600股境外上市普通股并在香港联合交易所上市。这意味着,不同集团港股IPO进程迈出关键一步。

图片来源:中国证券监督管理委员会官网
1月2日,不同集团向港交所递交招股书,拟香港主板挂牌上市,中信证券和海通国际为联席保荐人。但值得注意的是,递交港股招股书满六个月后,7月2日,不同集团的招股书失效。按照证监会的要求,不同集团需要自备案通知书出具之日起12个月内完成境外发行上市,若是未完成拟继续推进的,应当更新备案材料。
从招股书披露的募资用途来看,不同集团计划将资金主要用于提升生产能力、扩大在海外市场的影响力、研发新品等,不过,在冲刺港交所的赛道上,这家靠小红书流量崛起的企业仍需跨越多个挑战:营收增速放缓、营销费用较高而研发费用相对较低、产品质量争议等。
接下来 ,不同集团能否高效完成招股书更新,同时在经营层面交出更亮眼的成绩单,将成为其叩开资本市场大门的关键考题。
01.不同集团“不同”在哪?
目前,BeBeBus已从最初的婴儿推车、儿童安全座椅、婴儿床、餐椅四大核心产品,逐步延展到睡袋、枕头、奶瓶、纸尿裤、湿巾等产品,涵盖亲子出行、亲子睡眠、亲子喂养、卫生护理四大场景。
BeBeBus的“高端”主要体现在它的售价和设计上。
不同集团招股书提到,2022年、2023年以及2024年前三季度,BeBeBus包含至少一件核心产品的订单的平均交易金额保持在2400元以上。
BeBeBus起初凭借具有设计感的外观在社交媒体上走红,比如长得像空气净化器的婴儿床、像旅行箱一样可折叠的婴儿车、外观类似蛋壳座舱的儿童安全座椅和餐椅等等。截至2024年9月30日,其线上平台会员数量已增长至逾200万名。
在市场上,一辆普通婴儿推车的价格多在几百元到上千元不等,而BeBeBus婴儿推车的零售价主要在两三千元价格带。
此外,还有其可折叠婴儿床经典产品定价3280元,新生儿护脊推车2480元,安全座椅定价超3780元,就连技术含量较低的宝宝餐椅售价甚至都高达3180元。
通过招股书可以发现,以婴儿推车和儿童座椅为主的出行场景是公司最大的收入来源。2022年至2024年前三季度,该业务收入分别为3.25 亿元、4.74 亿元和4.16 亿元,占总营收的比例分别为 64.1%、55.7% 和 47.0%,可以看出,作为公司“拳头产品”的出行场景收入增长在逐年放缓。
其次,是睡眠场景;2022年至2024年前三季度,该业务收入分别为1.25亿元、1.36亿元和1.47 亿元,收入占比由2022年的 24.6% 下滑至 2024 年前三季度的16.6%。
值得关注的是,BeBeBus婴幼儿护理场景业务增长迅速;从2022年的0.42亿元营收,增长到2024年前三季度的2.70亿元,收入占比从8.2%增长到了30.4%。不过,BeBeBus的婴幼儿护理产品和帮宝适、花王妙而舒、好奇等知名品牌相比,并没有明显差异和竞争优势。
此外,婴幼儿护理场景的毛利率显著低于其他品类。报告期内,不同集团的毛利率分别约47.7%、50.2%和49.5%;其中,出行场景的毛利率分别约46.6%、51.6%和49.4%;而婴幼儿护理场景的毛利率分别约38.7%、39.2%和41.5%,拉低了公司的整体利润水平。

图源:招股书截图
BeBeBus的营收结构在过去几年间发生了较大的变化,从出行场景发展到其他场景,本质上是BeBeBus意识到了单一业务营收风险性大,需要找到新的增长曲线。据“趣解商业”了解,BeBeBus目前以每年持续更新5—10个SKU的速度不断推出创新产品。
招股书显示,2022年、2023年及2024年1-9月,不同集团分别实现收入5.07亿元、8.52亿元及8.84亿元;2023年其营收增速为68%,而2024年前三季度营收增速为57.6%,营收增速已经开始放缓。

图源:招股书截图
从整体母婴育儿市场规模来看,以高端耐用品为主的BeBeBus,市场份额并不算高。以同样主打婴儿车等耐用品的好孩子国际(1086.HK)为例,其2022年和2023年的营收为82.92亿港元和79.27亿港元,2024年上半年的营收为41.88亿港元,近乎是不同集团的10倍。
02.靠“种草”拿捏中产宝妈?
不同集团能够快速成长,离不开小红书。
在小红书上,BeBeBus总是和精致的“白富美”宝妈一起出现;既安全,又时尚的BeBeBus婴儿车俘获了众多中产宝妈宝爸的心。
五年间,不同集团没少在小红书花钱“种草”,在早期甚至将推广费用几乎全部投放到小红书。BeBeBus联合创始人兼CEO沈凌此前对媒体表示,除了产品差异化,All in小红书是BeBeBus迅速起势的关键。
2022年、2023年及2024年前三季度,不同集团销售及分销费用分别为1.89 亿元、2.86亿元和2.71亿元,占总营收的比例分别为37.2%、33.5%、30.6%,其中超70%的费用都花在了营销推广上。
招股书显示,2022年、2023年及2024年1-9月,不同集团毛利分别为2.42 亿元、4.27 亿元及 4.38 亿元,但对应的净利润却分别只有-2122.9万、2722.4万和4642.1万元,在2023年开始才扭亏转盈,销售及分销费用居高不下导致吃掉了公司大部分的利润。
虽然BeBeBus一直强调高端定位,且公司自称为“家庭生活产品科技公司”,并着重强调“科技”和“创新”,但与占营收30%以上的营销费用相比,其研发费用占比却相对较低。统计期内,不同集团研发费用分别为1620万元、2380万元和1590万元,不及营销费用的零头。

图源:招股书截图
此前就有网友质疑BeBeBus花费大量广告预算,却未投入足够资金请专业育儿设计团队开发产品;还有网友吐槽称 BeBeBus婴儿床存在收纳不便、侧边升降麻烦、不够平衡等问题,认为价格与设计不符,只是为了颜值而购买,甚至有消费者吐槽其产品价格虚高有“割韭菜”“智商税”的感觉。
“趣解商业”注意到,在“黑猫投诉”平台上,有消费者称其花2760元购买的BeBeBus艺术家pro婴儿车“变向后无法转回来导致车无法折叠,而且在购买没多久车就发生了把手晃动和走不了直线问题”。社媒平台中也不乏一些消费者反映BeBeBus婴儿车产品出现刹车质量问题、车身晃动、车身过重、安全带卡扣难用等问题。
值得注意的是,近期BeBeBus纸尿裤还被质疑其代工厂“套壳”以及“外包装涉嫌虚假陈述”。据“贝多财经”报道,其实地探访发现,BeBeBus纸尿裤代工厂山东多酷公司与爱拉森公司共用同一生产地址,且爱拉森公司法定代表人冯庆付此前也曾是山东多酷公司的法定代表人、控股股东;这也导致网络上有帖子称“BeBeBus纸尿裤的平替就是酷安奇”,并称酷安奇(爱拉森旗下品牌)是BeBeBus的代工厂。这一定程度上暴露了BeBeBus的代工短板。
不同集团在招股书中表示,其依靠数量有限的供应商,通过内部生产及向少数第三方制造商外包来生产产品;2022年至2024年前三季度,前五大供应商采购额占比高达 52.0%、44.6%和43.8%。
代工是消费品牌常见的生产模式,优势在于可降低企业的成本,但掣肘也很明显。代工意味着品牌无法从源头对产品质量做把控,如果过度依赖代工厂,一旦代工厂的生产环节出现漏洞,则会直接影响产品的质量和品牌形象。
黑猫投诉平台显示,有200余条消费者投诉包含搜索词“BeBeBus”;其中,有消费者投诉BeBeBus称纸尿裤红屁屁、有异物以及婴儿腰凳在使用过程中突然纽扣断裂、婴儿车刹车失灵等质量问题,甚至有消费者表示购买的婴儿床更换后依旧出现同样瑕疵。
不同集团也在加强生产能力的建设,其计划于2026年在宁波市完成第二家生产工厂建设,预计年产能为80万件婴儿推车、儿童安全座椅、婴儿床和餐椅,以进一步提升生产效率和产品质量。
03.母婴企业扎堆上市
据“趣解商业”了解,“85后”创始人汪蔚在创立BeBeBus之前,曾是母婴用品购物平台绿婴、轻奢母婴品牌anglebay销售商的股东;BeBeBus至少是汪蔚的第三次创业,在公司主要负责监督集团的战略规划、全球业务扩展及产品研发。BeBeBus联合创始人兼CEO沈凌曾任某头部外资母婴品牌中国区市场负责人十余年,在母婴行业具有专业的操盘管理经验。
作为新锐消费品牌,并拥有行业经验丰富的创始人团队,BeBeBus吸引了不少资本的青睐。
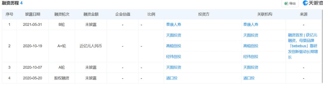
据“天眼查”数据显示,BeBeBus品牌的主体公司布童物联网科技(上海)有限公司在2020-2021年间获得四轮融资,其中不乏天图投资、高榕创投、经纬创投、泰康人寿等知名投资机构。在2021年5月完成B轮融资后,累计融资金额超过5亿元,公司估值增长至20亿元人民币。
IPO前,董事会主席汪蔚通过WANGBOYAN持股52.95%;首席执行官沈凌通过SLING持股6.77%;SLING授予WANGBOYAN其所持全部股份的投票权。
高榕创投持有不同集团9.80%的股份,为最大机构投资方;天图投资、经纬创投和泰康人寿则分别持有不同集团9.24%、7.84%和5.15%的股份。

图源:天眼查截图
招股书显示,不同集团的董事会由董事会主席汪蔚、首席执行官沈凌、董事会秘书颜栋三位执行董事,以及严健军、余振球、陈颖琪三位独立非执行董事组成。
作为不同集团的创始人和间接持股52.95%的大股东,不同集团进行多轮融资的同时,汪蔚已经靠套现赚得盆满钵满。据悉,2020年11月到2021年8月的三轮融资中,汪蔚通过直接及间接转让注册资本合计套现了近5049万元。与此同时,汪蔚还给自己制定了较高的薪酬标准。2022年、2023年,汪蔚薪酬分别为151.7万元、333.6万元。
不同集团其他高管的薪酬也比较可观。2022年、2023年,沈凌薪酬分别为151.7万元、253.6万元;2023年,颜栋的薪酬为242万元。2021年,颜栋还通过广州融慧预计套现近1300万元。
值得一提的是,由于选择不公示,不同控股报送至国家企业信用信息公示系统的2024年度报告显示,该公司2024年缴纳社保(包含城镇职工基本养老保险、失业保险、职工基本医疗保险、工伤保险)的人数为“0”。
资本对BeBeBus是有期待的,也是期望得到回报的;不过,BeBeBus在市场需求侧面临一定挑战。
虽然不同集团在招股书中表示出看好中国高端育儿产品市场,并认为中国富裕家庭数量的增加将推动育儿产品需求不断增长,且会注重优先为子女购买高质量的产品。
但事实上,虽然“三孩政策”放开,但当前国内新生人口持续下降,使得育儿市场的潜在客户数量减少,从整体上限制了高端育儿市场规模的扩张速度。同时,据“胡润研究院”发布的报告数据显示,2024年是中国近15年来第二次出现高净值家庭数量下降,第一次发生在2019年。
此外,随着消费者理性购物,更加注重性价比,对高端高价母婴育儿产品的价格敏感度提高。
尼尔森IQ在《通往2025:中国消费者展望》指出,从消费者类别看,看重性价比、多平台比价的“精打细算型”消费者占比从30%上升为39%,成为中国消费市场的绝对主流。
在社媒平台上,就有一些宝爸宝妈分享经验表示,婴儿车婴儿床不要买华而不实的,产品质量和性价比才是关键。当BeBeBus主推的中产消费客群捂紧了钱包,也为不同集团未来的业绩增长空间带来更多挑战。
不过,另一边,今年以来,消费市场呈现出显著的回暖态势,各类消费需求持续释放,市场活力不断提升。在这样的大背景下,母婴赛道也迎来了一波上市热潮,不少母婴相关企业纷纷加快了登陆资本市场的步伐,试图借助资本的力量进一步扩大规模、提升竞争力。这股IPO热潮中,既有已经成功敲钟上市的企业,也有正在积极推进上市进程的玩家。
其中,圣贝拉于6月26日正式在港交所挂牌,成为“全球品质家庭护理第一股”,上市首日股价表现亮眼,盘中涨幅一度超过 50%,总市值超过60亿港元。高端母婴食品营销公司纽曼思、以婴童护理产品为核心的舒宝国际也已先后登陆资本市场。
在正在推进IPO的企业中,母婴电商平台海拍客于6月底向港交所提交招股书;去年完成新三板挂牌的英氏控股,6月底已完成IPO辅导,正式被北交所受理;5月,专注于特殊医学用途配方食品的圣桐特医,向港交所递交上市申请;同月,数智化母婴连锁企业孕婴世界披露上市辅导工作完成报告,公司拟在北交所上市。
对任何一个企业而言,上市只是一个阶段性成果的验收;想要保持一个稳定的业绩成长、尽快给投资者带来回报,核心还是要修炼好“内功”。
特别声明:本文为合作媒体授权DoNews专栏转载,文章版权归原作者及原出处所有。文章系作者个人观点,不代表DoNews专栏的立场,转载请联系原作者及原出处获取授权。(有任何疑问都请联系idonews@donews.com)



