首页
快讯
商业
消费
游戏
3C
家电
汽车
文娱
体育
专栏
直播
专题
APP
首页
快讯
商业
消费
游戏
3C
家电
汽车
文娱
体育
专栏
直播
专题
APP
DoNews
>
快讯
>
蔚来汽车申请元宇宙商标被驳回
蔚来汽车申请元宇宙商标被驳回
2022-03-03 11:23:40
323796
分享到
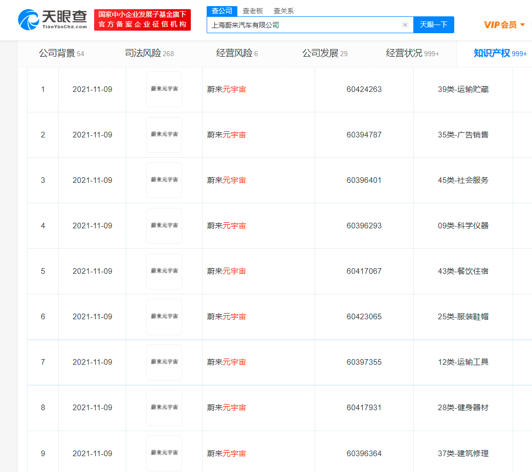
天眼查App显示,近日,上海蔚来汽车有限公司申请注册的多个“蔚来元宇宙”商标状态变更为驳回通知发文,国际分类包括运输工具、金融物管、科学仪器等,以上商标均申请于2021年11月。
//= _STATIC ?>
最新文章
3C
迈从北京首店正式开业,线下布局进入核心城市阶段
迈从北京首店正式开业,线下布局进入核心城市阶段
大丽
14小时前
汽车
吉利第五代帝豪车型限时售 6.59 万元起
吉利开启420万豪友感恩季,第5代帝豪限时6.59万元起,享六重礼遇;上市16年销量破420万辆,搭载1.5L或1.5TD动力。
杨亮
14小时前
商业
明视脑机完成1.5亿元天使轮系列融资
明视脑机一年半内完成三轮系列融资共1.5亿元,获多元资本加持,加速视觉重建脑机接口临床转化,巩固全球第一梯队地位。
杨亮
14小时前
文娱
红果短剧回应“AI偷脸”:下架《桃花簪》,涉事方被暂停上传15天
红果短剧下架AI生成短剧《桃花簪》,因出品方无法证明肖像授权合规,暂停其上传权限15天,并强化AI内容审核机制。
杨亮
14小时前
汽车
搭载第二代刀片电池、闪充技术:比亚迪2026款海豹06GT新车主交车仪式开启
比亚迪2026款海豹06GT上市即交付,售价12.89万-16.99万元,搭载第二代刀片电池、闪充技术(5分钟快充)、DiPilot 300智驾及云辇-C系统。
杨亮
14小时前
汽车
通用汽车今年第一季度在华销量约 35 万辆
通用汽车2026年一季度在华零售销量约35万辆;别克MPV家族全覆盖,凯迪拉克XT5销量增29%,五菱星光系列热销。
杨亮
15小时前
商业
耀速科技完成超2亿元A轮融资
耀速科技完成超2亿元A轮融资,将用于构建人源化器官芯片与AI融合的3D生物智能平台,加速FDA监管认证及药物研发新范式落地。
杨亮
15小时前
商业
天华新能年营收75亿:净利同比降56%
天华新能2025年营收75.49亿元,锂电材料占88.3%;净利4.57亿元,同比下降55.6%,毛利率与利润率持续下滑。
杨亮
16小时前
关于我们
|
电子协议
|
合作联系
|
蜀ICP备2024059877号-1
网站信息
Copyright © DoNews 2000-2026 All Rights Reserved
蜀ICP备2024059877号-1
联系地址:北京市海淀区宝盛东路兴华绿色产业楼3层307室(东升地区)
邮箱:jubao@infinities.com.cn
网上有害信息举报专区: www.12377.cn
Copyright © DoNews 2000-2026 All Rights Reserved
蜀ICP备2024059877号-1
京公网安备11010802023059号
获取验证码
获取验证码
登录
密码登录 >
验证码登录 >
登录即代表您已阅读同意
用户协议
和
隐私协议
//= _STATIC ?>
#热门搜索
热门文章
最新文章
推荐文章