天眼查显示吴亦凡关联公司只剩1家存续 吴亦凡商业版图盘点

据媒体报道,11月25日上午,北京市朝阳区人民法院一审公开宣判被告人吴亦凡强奸、聚众淫乱案,对被告人吴亦凡以强奸罪判处有期徒刑十一年六个月,附加驱逐出境;以聚众淫乱罪判处有期徒刑一年十个月,数罪并罚,决定执行有期徒刑十三年,附加驱逐出境。

天眼查App显示,吴亦凡共关联4家企业,其中3家工作室均已于2020年注销,目前为存续状态的仅剩他和表哥吴林共同持股的厦门亿和云起文化传媒合伙企业(有限合伙)。

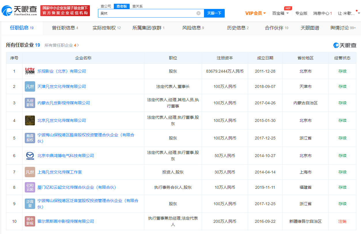
值得一提的是,吴林关联的19家公司中,9家为存续状态,包括吴亦凡经纪公司北京凡世文化传媒有限公司以及内蒙古凡世影视传媒有限公司、上海凡世文化传媒工作室、天津凡世文化传媒有限公司等,此外他还持股乐视影业(北京)有限公司、北京中鼎鸿博电气科技有限公司等。风险信息显示,吴林已被列为被执行人,执行标的总计超1.39亿元。此外,今年10月,吴亦凡经纪公司北京凡世文化传媒有限公司因未按规定期限公示年度报告,被北京市朝阳区市场监督管理局列入经营异常名录。

吴亦凡事件被曝光后,许多代言品牌也与吴亦凡产生服务合同纠纷。天眼查显示,华帝股份有限公司起诉内蒙古凡世影视传媒有限公司、内蒙古潮廷文化传媒有限责任公司,请求法院判令解除双方服务合同,并判令上述两公司和北京凡世文化传媒有限公司连带向原告退还服务费1750万元及利息;嘉士伯(中国)啤酒工贸有限公司起诉内蒙古潮廷文化传媒有限责任公司、WUYIFAN(吴亦凡),此前法院公告称该案已审理终结,向被告公告送达民事裁定书;韩束关联公司上海上美化妆品股份有限公司请求冻结内蒙古潮廷文化传媒有限责任公司1332万余元财产。

000e6105726c572ae071ed6db92e6c1.png

e2490e84edc12ef89b4d33aaa212f55.png

db08ecdfef8d77d9e84a0127859998d.png

83e5c0a2f466f54b3260e035bf0951a.png

最新文章
Copyright © DoNews 2000-2025 All Rights Reserved
蜀ICP备2024059877号-1