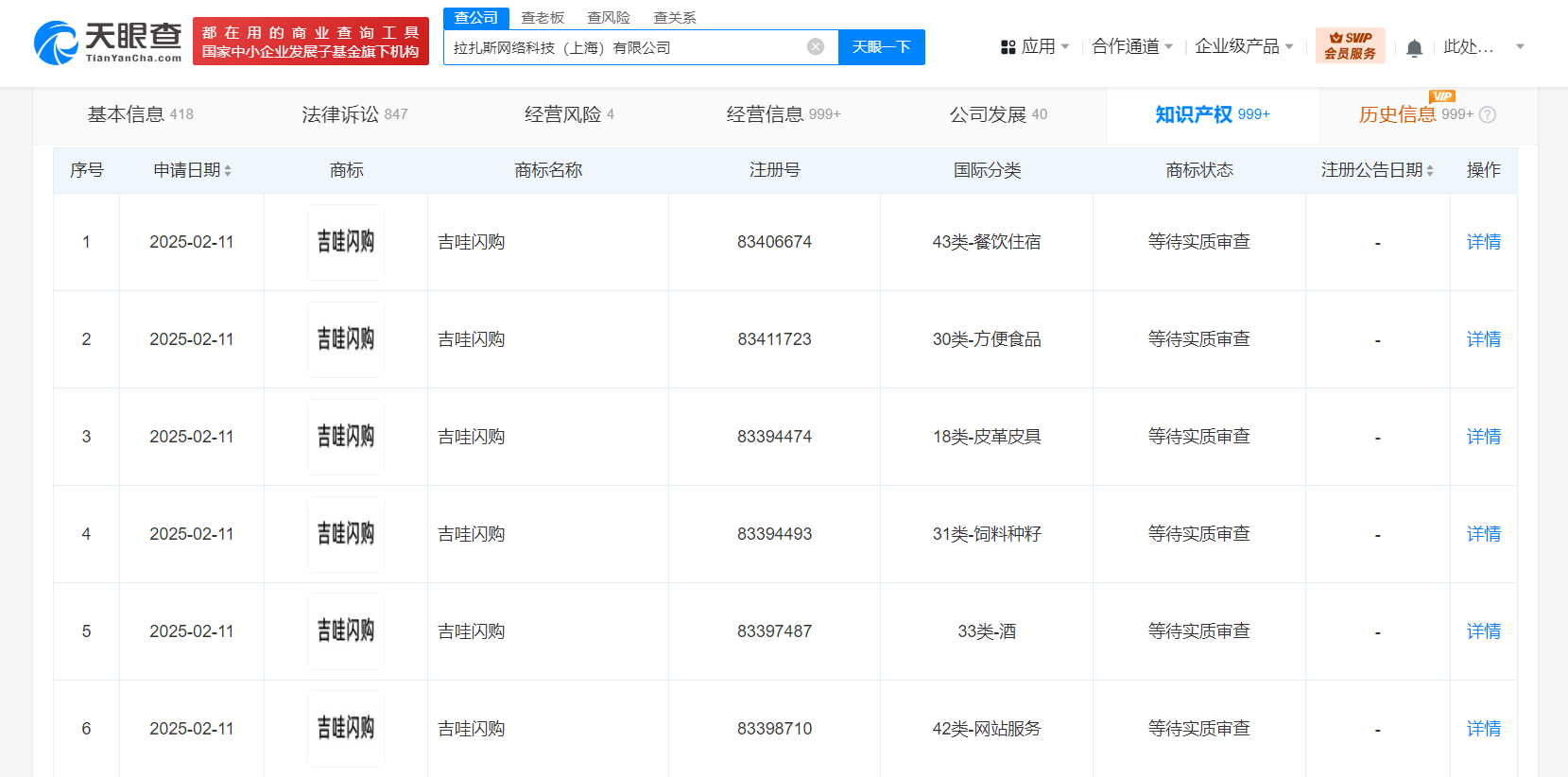
天眼查知识产权信息显示,近日,饿了么关联公司拉扎斯网络科技(上海)有限公司申请注册多枚“吉哇闪购”商标,国际分类为网站服务、餐饮住宿、教育娱乐等,当前商标状态均为等待实质审查。
拉扎斯网络科技(上海)有限公司成立于2011年9月,法定代表人为方永新,注册资本550亿人民币,由拉扎斯控股香港有限公司全资持股。


本文转载自天眼查,转载目的在于传递更多信息,并不代表本站赞同其观点和对其真实性负责。如涉及作品内容、版权和其它问题,请联系天眼查通知我方删除,我方将在收到通知后第一时间删除内容!本文只提供参考并不构成任何投资及应用建议。本站拥有对此声明的最终解释权。



