天眼查知识产权信息显示,近日,邓紫棋(原名邓诗颖)申请注册2枚“邓紫棋”商标,国际分类涉及健身器材、酒,当前商标状态均为等待实质审查。
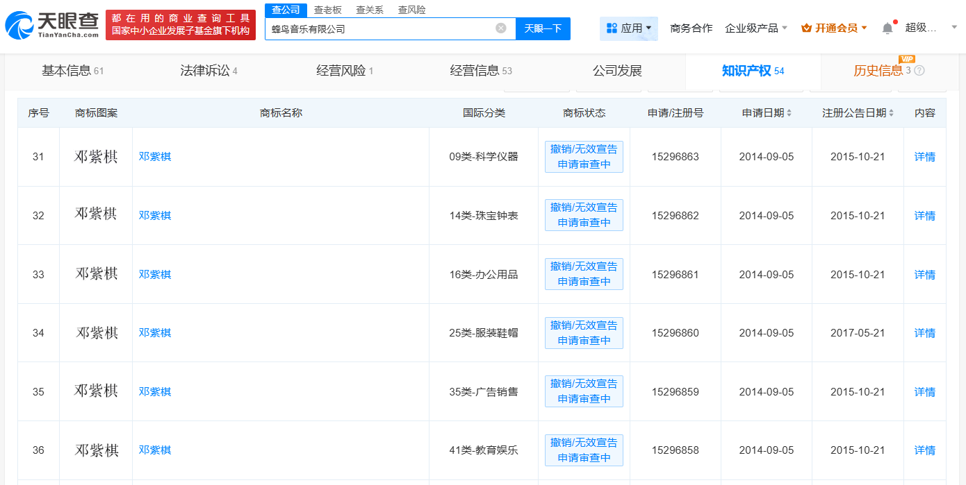
据报道,近日,邓紫棋发布《I AM GLORIA》重录专辑,其前公司蜂鸟音乐发布声明称重制歌曲侵权,引发多方关注。值得注意的是,目前,蜂鸟音乐有限公司的多个“邓紫棋”“G.E.M.”商标状态为撤销/无效宣告申请审查中。




本文转载自天眼查,转载目的在于传递更多信息,并不代表本站赞同其观点和对其真实性负责。如涉及作品内容、版权和其它问题,请联系天眼查通知我方删除,我方将在收到通知后第一时间删除内容!本文只提供参考并不构成任何投资及应用建议。本站拥有对此声明的最终解释权。



