据媒体报道,华为支付已上线数月,正在进行推广。目前华为支付已覆盖华为系应用和部分第三方应用。据支付页面显示,本服务由讯联智付(华为支付)提供,这是华为去年3月份通过收购拿下的支付牌照。
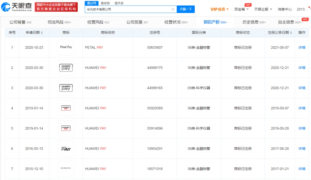
“华为支付”商标于去年1月被自然人华某申请注册,国际分类为金融物管,不过,该商标当前流程为“等待驳回复审”。华为技术有限公司目前暂未申请“华为支付”商标,但已完成注册多个“HUAWEI PAY”商标。



据媒体报道,华为支付已上线数月,正在进行推广。目前华为支付已覆盖华为系应用和部分第三方应用。据支付页面显示,本服务由讯联智付(华为支付)提供,这是华为去年3月份通过收购拿下的支付牌照。
“华为支付”商标于去年1月被自然人华某申请注册,国际分类为金融物管,不过,该商标当前流程为“等待驳回复审”。华为技术有限公司目前暂未申请“华为支付”商标,但已完成注册多个“HUAWEI PAY”商标。


