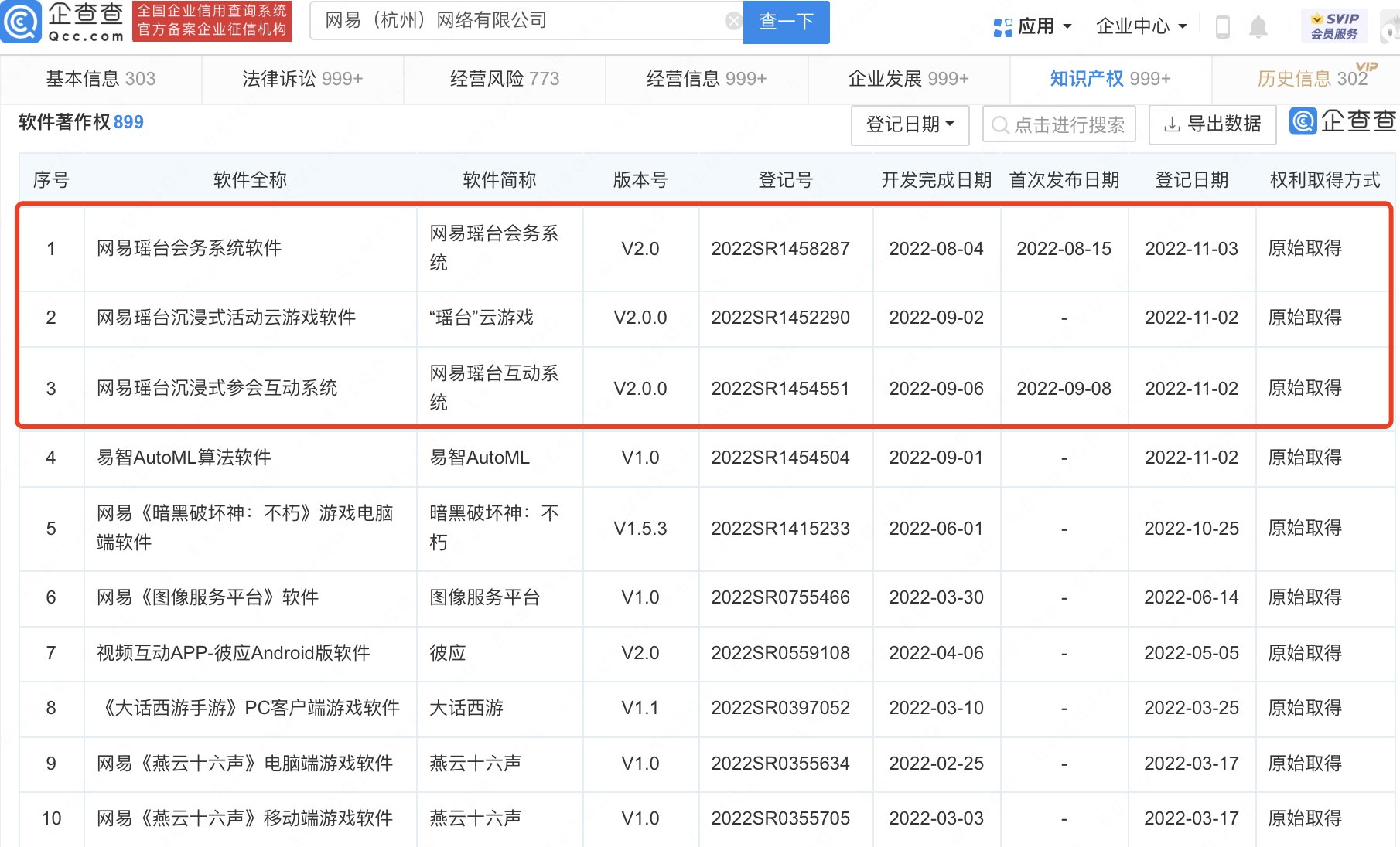
企查查APP显示,近日,网易(杭州)网络有限公司“网易瑶台沉浸式活动云游戏软件”“网易瑶台沉浸式参会互动系统”“网易瑶台会务系统软件”著作权获得登记批准,当前版本号为V2.0。据悉,瑶台是网易伏羲旗下沉浸式活动平台,可基于3D游戏引擎、AI、云计算等技术,在元宇宙中复刻线下真实场景。
企查查APP显示,近日,网易(杭州)网络有限公司“网易瑶台沉浸式活动云游戏软件”“网易瑶台沉浸式参会互动系统”“网易瑶台会务系统软件”著作权获得登记批准,当前版本号为V2.0。据悉,瑶台是网易伏羲旗下沉浸式活动平台,可基于3D游戏引擎、AI、云计算等技术,在元宇宙中复刻线下真实场景。