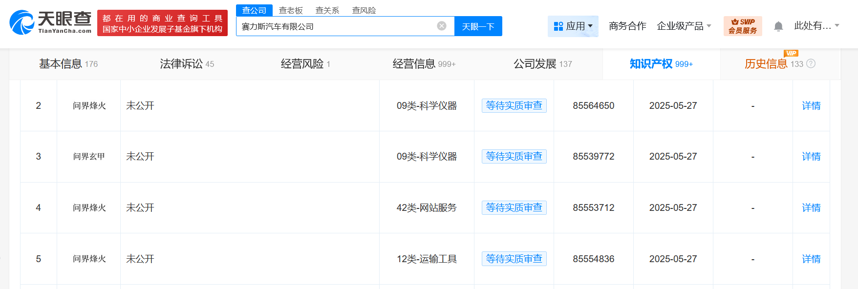
天眼查知识产权信息显示,近日,赛力斯汽车有限公司申请注册“问界烽火”“问界玄甲”商标,国际分类为科学仪器、网站服务、运输工具,当前商标状态均为等待实质审查。
赛力斯汽车有限公司成立于2012年9月,法定代表人为岑远川,注册资本约103亿人民币,经营范围包括研发、生产、销售新能源汽车及其零部件等,由赛力斯集团股份有限公司、国开制造业转型升级基金(有限合伙)等共同持股。



本文转载自天眼查,转载目的在于传递更多信息,并不代表本站赞同其观点和对其真实性负责。如涉及作品内容、版权和其它问题,请联系天眼查通知我方删除,我方将在收到通知后第一时间删除内容!本文只提供参考并不构成任何投资及应用建议。本站拥有对此声明的最终解释权。



